视觉应用
新闻详情

机器视觉技术在「紧固件外观缺陷检测」领域的应用

发布时间:2023-06-29 11:00:28 浏览次数:1902

        紧固件作为常见的机械零部件,在工作中可能会出现裂纹、腐蚀、凹坑以及人为损伤等缺陷,将严重威胁着现有结构的安全性和可靠性。

        以非常贴近我们日常生活的汽车为例,串联起汽车关键零部件的紧固件一旦腐蚀断裂失效,轻则汽车故障,重则出现人员伤亡。

        在这个对紧固件的质量要求日益严苛的时代,高精度检测,已成为紧固件原材料挑选及生产制造的必要工序!


        因此,在紧固件厂必要设立表面缺陷检测工位,并安排相应的技术人员,对生产的固件进行表面缺陷检测。

        那么紧固件表面缺陷种类有哪些呢?其产生的原因以及检测的依据又是什么呢?

01紧固件常见缺陷类型及检测要点

        汽车零部件-螺栓为例,从设计图样到制品,要经历一系列工艺流程,流程中存在众多复杂因素,极有可能形成某种缺陷,若这些缺陷未被检测发现,或检测手段落后而发现不了,或技术标准不合理等,使得原本不应该流入市场的不合格品成为商品,从而成为在后续装配服役过程中失效的潜在因素。

        汽车零部件常见缺陷可以分为:制造工艺缺陷、原材料缺陷。

        制造工艺产生的缺陷

        成形工艺不当造成的工艺缺陷种类较多,例如,成形工艺不当所致粗晶或晶粒不均匀、成形工艺不当所致螺纹流线分布不顺或穿流、螺纹滚压工艺不当造成缺陷、加工艺不当造成的缺陷、成形工艺不当导致裂纹、热处理工艺不当导致淬火裂纹等。

① 淬火裂缝


淬火裂缝示意图

产生原因:在热处理过程中,由于过高的热应力和应变,都可能产生淬火裂缝。淬火裂缝通常是不规则相交、无规律方向的呈现在紧固件表面。

检测要求:任何深度、任何长度或任何部位的淬火裂缝都不允许存在。

② 锻造裂缝


锻造裂缝示意图

产生原因:锻造裂缝可能在切料或锻造工序中产生,并位于螺栓和螺钉的头部顶面,以及凹穴头部隆起部分。

检测要求:锻造裂缝的长度L :L≤d;锻造裂缝的深度或者宽度 b:b≤0.04d;d---螺纹公称直径。

③ 锻造爆裂


锻造爆裂示意图

产生原因:在锻造过程中可能产生锻造爆裂,例如在螺栓和螺钉六角头的对角上,或在法兰面或圆周上,或在凹穴头部隆起部分出现。

检测要求:

        六角头及六角法兰面螺栓和螺钉:六角法兰面螺栓和螺钉的法兰面上的锻造爆裂,不应延伸到头部頂面的顶圆(倒角圆)或头下支承面内。

        对角上的锻造爆裂,不应使对角宽度减小到低于规定的最小尺寸。螺栓和螺钉凹穴头部隆起部分的锻造爆裂,其宽度不应超过 0. 06d 或深度低于凹穴部分。

        圆头螺栓和螺钉及六角法兰面螺栓:螺栓和螺钉及六角法兰面和圆头圆周上的锻造爆裂的宽度,不应超过下列极限:≤0.08dc(或 dk) (只有一个锻造爆裂时) ;≤0.04dc(或 dk)(有两个或更多的锻造爆裂时,其中有一个允许到 0.08dc 或 dk,其中d 一螺纹公称直径;dc---头部或法兰直径;dk---头部直径。

④ 剪切爆裂


剪切爆裂示意图

产生原因:在锻造过程中可能产生剪切爆裂,例如在圆头或法兰面产品的圆头或法兰面的周围出现,通常和产品轴心线约成 45°。也可能产生在六角产品的对边平面上。

检测要求:

        六角头及六角法兰面螺栓和螺钉:六角法兰面螺栓和螺钉的法兰面上的剪切爆裂,不应延伸到头部顶面的顶圆(倒角圆)或头下支承面内。对角上的剪切爆裂,不应使对角宽度减小到低于规定的最小尺寸。

        螺栓和螺钉凹穴头部隆起部分的锻造爆裂,其宽度不应超过 0. 06d 或深度低于凹穴部分。

        圆头螺栓和螺钉及六角法兰面螺栓:螺栓和螺钉及六角法兰面和圆头圆周上的剪切爆裂的宽度,不应超过下列极限:≤0.08dc(或 dk) (只有一个剪切爆裂时) ;≤0.04dc(或 dk)(有两个或更多的剪切爆裂时,其中有一个允许到 0.08dc 或 dk ,其中d 一螺纹公称直径;dc---头部或法兰直径;dk---头部直径。

        原材料的缺陷

        原材料缺陷主要包括表面裂纹、表面折叠、表面脱碳、表面粗晶环、残余缩孔和夹杂缺陷等。

① 原材料的裂纹和条痕


原材料的裂纹和条痕示意图

产生原因:原材料的裂纹和条痕通常是沿螺纹、光杆或头部纵向延伸的一条细直线或光滑曲线的缺陷。裂纹和条痕通常是制造紧固件的原材料中固有的缺陷。

检测要求:裂纹或条痕的深度:≤0.03d。如果裂纹或条痕延伸到头部,则不应超出对锻造爆裂规定的宽度和深度的允许极限,d为螺纹公称直径

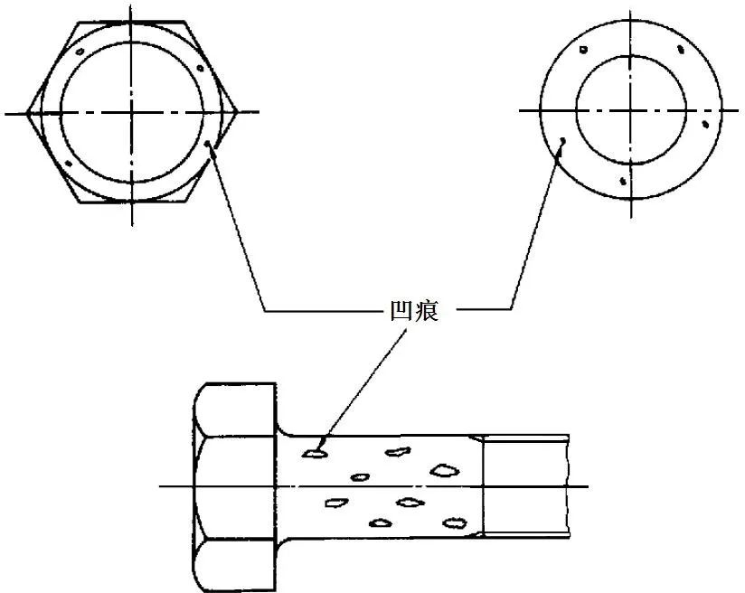
② 凹痕


凹痕示意图

产生原因:凹痕是在锻造或镦锻过程中,由于金属未填满而呈现在螺栓或螺杆表面上的浅坑或凹陷。凹痕是由切屑或剪切毛刺或原材料的锈层造成的痕迹或压印,并在锻造或镦锻工序中未能消除。

检测要求:凹痕的深度 h:h≤0.02d(最大值为 0.25mm)。凹痕的面积:支承面上凹痕面积之和,不应超过支承面总面积的 10%。d为螺纹公称直径。

③ 皱纹


皱纹示意图

产生原因:皱纹是在锻造过程中,呈现在紧固件表面的金属折叠。在镦锻的一次冲击过程中,由于体积不足和形状不一造成材料的位移而产生皱纹。

检测要求:位于或低于支承面的内拐角上不允许有皱纹,但在上述图示或产品标准中特殊允许者例外。在外拐角上的皱纹允许存在。

④ 切痕


切痕示意图

产生原因:切痕是纵向或周向方向浅的沟槽,在镦锻的一次冲击过程中,由于体积不足和形状不一造成材料的位移而产生皱纹。

检测要求:在光杆、圆角或支承面上,由于加工产生的切痕,其表面粗糙度不应超过Ra=3.2μm

02 基于机器视觉技术的检测方法

        工业4.0时代,针对市场紧固件生产越来越趋于精密化,而用人成本不断增高,人工效率及稳定性也不高,误检、漏检比率高。

        目前市场,推出基于机器视觉的检测方法,检测原理是通过CCD相机拍照,软件进行图像分析,这种方法高效、高速、非接触的检测。

        就例如螺丝螺母螺纹检测,对于品质要求极为严格,大多厂家主要采用的是机械检测方法。常用的有螺纹量规、工具显微镜、和其他通用量仪等,这些方法都是手工进行的,不仅检测速度慢、检测精度低,而且,螺丝螺母的使用量一般都很大,都是大批量生产,这时外观检测依靠人工是完全应付不过来的,所以只能采用机器视觉检测设备来进行品质检测。

客服电话
  • 0755-23712116
  • 13310869691