视觉应用
新闻详情

带你深入了解机器人视觉系统工作原理及其应用

发布时间:2023-06-15 11:28:24 浏览次数:2051

人类想要实现一系列的基本活动,如生活、工作、学习就必须依靠自身的器官,除脑以外,最重要的就是我们的眼睛了,(工业)机器人也不例外,要完成正常的生产任务,没有一套完善的,先进的视觉系统是很难想象的。


机器视觉系统就是利用机器代替人眼来作各种测量和判断。它是计算科的一个重要分支,它综合了光学、机械、电子、计算机软硬件等方面的技术,涉及到计算机、图像处理、模式识别、人工智能、信号处理、光机电一体化等多个领域。图像处理和模式识别等技术的快速发展,也大大地推动了机器视觉的发展。


了解机器人视觉系统

一般来说,机器视觉系统包括了照明系统、镜头、摄像系统和图像处理系统。对于每一个应用,我们都需要考虑系统的运行速度和图像的处理速度、使用彩色还是黑白摄像机、检测目标的尺寸还是检测目标有无缺陷、视场需要多大、分辨率需要多高、对比度需要多大等。

从功能上来看,典型的机器视觉系统可以分为:图像采集部分、图像处理部分和运动控制部分。


1、非接触测量,对于观测者与被观测者都不会产生任何损伤,从而提高系统的可靠性。

2、具有较宽的光谱响应范围,例如使用人眼看不见的红外测量,扩展了人眼的视觉范围。

3、长时间稳定工作,人类难以长时间对同一对象进行观察,而机器视觉则可以长时间地作测量、分析和识别任务。

4、机器视觉系统的应用领域越来越广泛。在工业、农业、国防、交通、医疗、金融甚至体育、娱乐等等行业都获得了广泛的应用,可以说已经深入到我们的生活、生产和工作的方方面面。

一、系统构成

视觉系统的设计分为软件设计和硬件设计两大部分。


(一)视觉系统的硬件设计 

视觉系统的硬件主要由镜头、摄像机、图像采集卡、输入输出单元、控制装置构成。

一套视觉系统的好坏则分别取决于摄像机像素的高低,硬件质量的优劣,更重要的是各个部件间的相互配合和合理使用。


(二)视觉系统的软件设计

视觉系统的软件设计是一个复杂的课题,不仅要考虑到程序设计的最优化,还要考虑到算法的有效性,及其能否实现,在软件设计的过程中要考虑到可能出现的问题。

视觉系统的软件设计完成还要对其鲁棒性进行检测和提高,以适应复杂的外部环境。


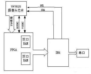
二、工作原理


机器人视觉硬件主要包括图像获取和视觉处理两部分,而图像获取由照明系统、视觉传感器、模拟-数字转换器和帧存储器等组成。机器人视觉通过视觉传感器获取环境的二维图像,并通过视觉处理器进行分析和解释,进而转换为符号,让机器人能够辨识物体,并确定其位置。

具体过程如下:


三、应用领域

工业机器视觉难点在于精度和速度,要求都在毫米级,且工业领域工业机器人抓手的变动是在三维空间内。根据功能不同,机器人视觉可分为视觉检验和视觉引导两种。

主要的应用领域包括:

1) 触摸屏

随着技术的发展,人们对电子产品交互体验的要求越来越高,触摸屏作为新一代的电子产品输入设备正逐步成为平板电脑、手机、电子书、GPS、游戏机等设备的新宠。触摸屏生产工艺复杂,从上游的ITO玻璃镀膜、光刻、IC组件加工,到中游的触摸屏模组贴合、丝网印刷、切割,再到下游的触摸屏模组贴合、盖板玻璃检测,都对工艺提出更高的要求,使机器视觉技术成为相关环节生产和质量检测的必要技术。

2)FPD

FPD(Flat Panel Display)行业包括LCD、LED、OLED等多种显示设备,各种技术工艺流程都非常复杂,其中LCD是当前最主要的显示技术。FPD行业对生产效率和产品品质有极高的要求,机器视觉技术作为非接触、高精度、高速度的生产,检测能力成为不可或缺的技术手段。从前端的ITO玻璃检测、背光模组检测,到Cell贴合、LCD模组的COG设备、对位贴合、切割机、飞针检测设备等,机器视觉技术的应用提高了设备厂商的核心竞争力。

3)激光加工

激光加工是一种应用广泛的工业加工技术,利用对激光器的运动控制,实现高精度的打标、切割、雕刻、焊接等功能,随着激光加工的工艺升级,传统技术已经不能满足工业加工对高精度高速度的要求。这使机器视觉技术与激光技术开始融合,同时视觉的定位和引导实现高精度加工,降低了对高成本精密卡具的需求,提升设备精度,降低加工成本。

4)太阳能

太阳能作为最有价值的未来绿色能源之一,是国家重点发展的行业领域。短期相对的产能过剩对太阳能电池生产设备提出更高的要求,从硅锭、硅片纯度、到加工镀膜过程的质量控制,都会银杏最后太阳能电池片的光电装换效率,高质量的产线能够减低废品率,从而降低生产能耗与太阳能电池片产出比,使太阳能成为真正的清洁能源。在太阳能电池片生产过程中,通过机器视觉定位、测量、检测等技术可大大提高成品率,降低生产成本。

5)半导体

半导体技术是现代信息产业的根基,也是机器视觉技术最早的发源地。上世纪90年代,欧美半导体企业在半导体行业中应用图像技术,使其后来逐步发展成为今天的机器视觉技术,并成为半导体工业不可或缺的关键技术。同时半导体产业规模庞大,行业摩尔效应为行业工艺不断提出挑战,也对其生产设备中的机器视觉的要求不断提高。

6)PCB

印制电路板PCB(Printed Circuit Board)板是电子信息产品主要的产品载体,在PCB行业发展相对成熟的今天,行业竞争激烈,对高性能设备的综合制造能力的要求越来越高。随着多层板、挠性板、刚挠板等PCB制造技术的发展,对PCB生产工艺提出了更高的要求。在PCB板制造过程中机器视觉技术得到广泛应用,在菲林AOI、PCB AOI、PCB AVI、内层板AXI、PCB丝网印刷、自动曝光机、SPI、打孔机等设备中,机器视觉定位、检测等视觉技术可实现快速、精准的质量检测和过程,提高产品质量和生产效率,是设备性能提升的可靠保障。 

7)SMT

表面贴装技术SMT(Surface Mount Technology)行业是继PCB后又一重点电子信息产业,也是中国机器视觉设备商的发源地,电子元器件小型化、器件贴装高密度化、器件管脚阵列复杂化和多样化都给现代SMT设备提出更高的要求。通过运用机器视觉视觉定位、测量、检测检测技术,提升SMT设备生产效率、提高贴装精度、提升连续贴装工作稳定性。助力SMT行业的设备升级和技术提高。

8)机器人与工厂自动化

工业机器人是面向工业领域的多关节机械手或多自由度的机器人,在工业生产中替代人工执行单调、频繁、长时间作业,或是危险、恶劣环境下的作业,如冲压、压力锻造、热处理、焊接、涂装、塑料制品成形、机械加工和简单装配等工序,是现代工厂的自动化水平的重要标志。机器人与视觉技术结合,能完成更精准的组装、焊接、处理、搬运等工作。

9)制药

药品的生产和加工过程是非常严格的管理过程,任何微小的差错都有可能造成严重的后果。通过机器视觉手段实现对药品生产过程的质量控制和管理控制,提升药品质量和包装质量,保障患者的生命安全。

10)物流

现代工业生产流程管理是现代化生产效率和先进性的体现,通过对条码和字符的识别和跟踪,能够形成原材料器件、产成品、包装箱、产品垛之间的一一对应,使现代生产具备可管理、可追溯型。对于工业品的生产工业管理和器件追溯,对于食品饮料防止串货和安全追溯,汽车行业的零部件追溯有着非常重要的应用意义。

11)汽车

汽车行业作为一个自动化程度比较高的高科技行业,很多先进的自动化技术已经成功的运用到该行业各个生产流程中。在汽车制造的许多环节已经做到了无人化操作,这样就要求有一种可靠的检测技术去验证每一次装配的正确性及装配部件的合格性。机器视觉技术以其独特的技术优势成为自动检测系统的首选。机器视觉已经被广泛的应用于汽车生产制造的各个环节,例如汽车零部件的尺寸及外观质量检测,自动装配正确性的检测。以前传统的检测方式耗费大量人力,而且容易受到工人主观情绪及自身技术水平的影响,不能保证很高的检验合格率。许多汽车制造厂家开始尝试使用机器视觉检测来替代传统的检测方式,并取得了良好的效果。

12)OCR

光学字符识别OCR(Optical Character Recognition)在很多行业中,比如印刷包装、物流行业,大量涉及印刷质量检查、包装质量检查以及产品包装上的条码检查和字符识别等环节。这些应用的共同特点是,连续大批量生产、对外观质量的要求高,具有高度重复性和智能性。利用机器视觉的精度、速度以及工业环境下的可靠性,来进行字符识别、条码识别实现生产过程中自动高效的测量、检查和辨识。

传统制造业面临新的颠覆,转型升级将给中国自动化行业带来巨大的市场机遇。而机器视觉作为自动化界高智能化产品,未来具有巨大的发展潜力。

客服电话
  • 0755-23712116
  • 13310869691