封装及Bonding
新闻详情

光模块的封装工艺种类

发布时间:2022-12-03 17:12:56 最后更新:2023-02-10 09:20:16 浏览次数:4942

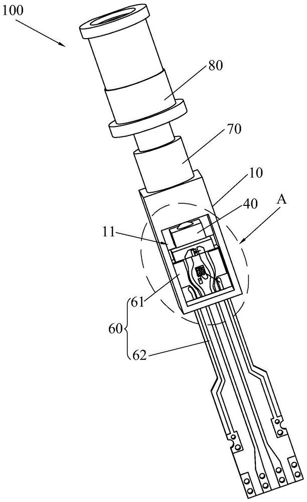
       光收发一体模块由三大部分组成,它们分别是光电器件(TOSA/ROSA)、贴有电子元器件的电路板(PCBA)和LC、SC、MPO等光接口(外壳)。

 

光发射部分

       光发射部分由光源、驱动电路、控制电路(如APC)三部分构成,主要测试光功率、消光比这两个参数。


光接收部分

       光接收部分以PIN为例,是由PINTIA(InGaAs PIN和跨阻放大器)和限幅放大器组成。将输入的光信号通过PIN管转换成光电流,光电流又通过跨阻放大器转换成电压信号。电压信号经限幅放大,并通过整形滤波器与限幅放大器产生差分

       DATA与DATA的数据信号交流输出。并具有无光告警功能,当光功率不足以维持模块正常工作时,SD端产生逻辑低信号,产生告警。


       光模块的标准和封装形式有哪些?光模块封装的基本结构为光发射侧模块(TOSA)和驱动电路,光接收侧模块是(ROSA)和接收电路。TOSA、ROSA中的技术壁垒主要在于两方面:光芯片和封装技术。

       一般ROSA中封装有分光器、光电二极管(将光信号转换成电压)和跨阻放大器(放大电压信号),TOSA中封装有激光驱动器、激光器和复用器。TOSA、ROSA的封装工艺主要有以下四种:

TO-CAN同轴封装

       TO-CAN同轴封装:壳体通常为圆柱形,因为其体积小,难以内置制冷,散热困难,难以用于大电流下的高功率输出,故而难以用于长距离传输。目前最主要的用途还在于2.5Gbit/s及10Gbit/s短距离传输。但成本低廉,工艺简单。


蝶形封装

       蝶形封装:壳体通常为长方体,结构及实现功能通常比较复杂,可以内置制冷器、热沉、陶瓷基块、芯片、热敏电阻、背光监控,并且可以支持所有以上部件的键合引线。壳体面积大,散热好,可以用于各种速率及80km长距离传输。

蝶形封装

BOX封装

       BOX封装属于蝶形封装的一种,用于多通道并行封装。

BOX封装

 

COB(Chip On Board)封装

       COB封装即板上芯片封装,将激光芯片粘附在PCB基板上,可以做到小型化、轻型化、高可靠、低成本。


       COB封装传统的单路10Gb/s或25Gb/s速率的光模块采用SFP封装将电芯片和TO封装的光收发组件焊接到PCB板上组成光模块。而100Gb/s光模块,在采用25Gb/s芯片时,需要4组组件,若采用SFP封装,将需要4倍空间。COB封装可以将TIA/LA芯片、激光阵列和接收器阵列集成封装在一个小空间内,以实现小型化。技术难点在于对光芯片贴片的定位精度(影响光耦合效果)和打线质量(影响信号质量、误码率)。

 

采用COB工艺制作的10G SFP+ AOC产品(爆炸图)

       25G及以下速率光模块多采用单通道TO或蝶形封装,有标准的制程和自动化设备,技术壁垒低。但对于40G及以上速率的高速光模块,受激光器速率限制(多为25G),主要通过多通道并行实现,如40G由4×10G实现,而100G则由4×25G实现。高速光模块的封装对并行光学设计、高速率电磁干扰、体积缩小、功耗增加下的散热问题提出了更高的要求。

        深圳市伟德国际唯一官网入口光电科技有限公司是一家以机器视觉为技术核心,自主技术研究与应用拓展为导向的高科技企业。公司自成立以来不断创新,在智能自动化领域研发出视觉对位系统、机械手视觉定位视觉检测、图像处理库等为核心的20多款自主知识产权产品。涉及自动贴合机、丝印机、曝光机、叠片机、贴片机、智能检测、智能镭射等众多行业领域。伟德国际唯一官网入口视觉系统最高生产精度可达um级别,图像处理精准、速度快,将智能自动化制造行业的生产水平提升到一个更高的层次,改进了以往落后的生产流程,得到广大用户的认可与肯定。随着智能自动化生产的普及与发展,伟德国际唯一官网入口将为广大生产行业带来更全面、更精细、更智能化的技术及服务。

客服电话
  • 0755-23712116
  • 13310869691